服务热线:010-82719905
网站首页
品牌介绍
产品中心
充电式压接剪切工具
手动液压压接剪切工具
分体液压压接头剪切头
机械式压接、剪切工具
液压驱动装置(液压泵)
压接模具和工具附件
手工工具
电气连接系统(端子)
带电作业****绝缘切刀
格林利Greenlee Utility
RIDGID里奇
新闻资讯
公司新闻
行业新闻
技术服务
资源共享
RIDGID里奇
格林利
联系我们
****服务热线:
+86-010-82719905
网站公告:
诚信为本:市场在变,诚信永远不变...
产品
分类
充电式压接剪切工具
手动液压压接剪切工具
分体液压压接头剪切头
机械式压接、剪切工具
液压驱动装置(液压泵)
压接模具和工具附件
手工工具
电气连接系统(端子)
带电作业****绝缘切刀
格林利Greenlee Utility
RIDGID里奇
联系
我们
+86-010-82719905
地址:
北京市后沙峪国门1号4FB06
公司:
北京华京顺通科技有限公司
手机:
+86-13436309569
传真:
+86-010-82717017
新闻
动态
产品中心
Products
当前位置:
首页 >>
产品中心
>>
电气连接系统(端子)
>>
绝缘和非绝缘电缆连接
绝缘端子插座多样型
添加时间:2015/12/3 21:02:08
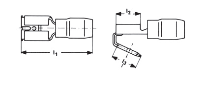
绝缘端子插座多样型,0.5-6mm2
适用于细绞线和超细绞线
绝缘插片套管: 聚**乙烯
导线截面配有颜色标识
材料:铜锌(黄铜)
表面:镀锡
上一条:
绝缘端子插座
下一条:
绝缘插片端子