****服务热线:+86-010-82719905
网站公告:
诚信为本:市场在变,诚信永远不变...
联系我们
+86-010-82719905
地址:
北京市后沙峪国门1号4FB06
公司:
北京华京顺通科技有限公司
手机:
+86-13436309569
传真:
+86-010-82717017
新闻动态
产品中心 Products
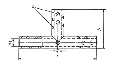
T 型螺钉式接续管
添加时间:2015/12/1 21:42:57
T 型螺钉式接续管

T 型螺钉式接续管 , 铜锌制 4-95mm2

特性

配置有焊接孔以便简化处理

在焊接期间螺钉用于固定导线

材料:

Cu Zn 40 Pb 2

螺钉 : DIN 551 钢

表面:镀锡

T型压图.pngT型螺钉1.pngT型螺钉2.png

上一条:铜锌制螺钉式接续管

下一条:C 形线夹